바다 위의 테슬라, 자율운항 선박의 특허 및 기술 동향

과거의 선박이 단순히 화물을 나르는 거대한 쇳덩어리였다면, 이제는 스스로 판단하고 움직이는 바다 위의 인공지능으로 진화하고 있습니다. 테슬라와 같이 자동차 분야에서 일어난 자율주행 혁명이 이제는 거친 바다로 무대를 옮겨 선박의 운항 방식을 근본적으로 바꾸고 있는 것인데요. 조선업계에서 가장 뜨거운 키워드인 자율운항은 이제 더 이상 먼 미래의 이야기가 아닌, 현재 우리 눈앞에서 펼쳐지고 있는 혁신입니다.
자율 운항 선박 기술 환경
국제해사기구(IMO)에서는 자율운항선박의 규제 프레임워크 마련을 위해 "MASS(Maritime Autonomous Surface Ships)"라는 개념을 제시하고, 단계별 자율화 수준(Level 1~Level 4)을 정의했습니다. 이에 따라 전 세계가 발맞춰 기술 개발과 표준화를 추진하고 있습니다.
1단계: 지능형 시스템이 선원의 의사결정을 지원하는 자동화 단계입니다.
2단계: 선원이 승선한 상태에서 원격으로 선박을 제어합니다.
3단계: 선원 없이 원격 제어가 가능하며, 장애 예측 및 진단 시스템을 갖춥니다.
4단계: 사람의 개입이 전혀 없는 완전 무인 자율운항 단계입니다.
우리 한국도 이와 같은 기술 트렌드에 맞춰, 산업통상자원부는 2020년부터 ‘자율운항선박 기술개발 사업’을 통해 약 1조 원 규모를 투자하고 있으며, 현대중공업, 삼성중공업, 대우조선해양(현 한화오션) 같은 국내 주요 조선소들도 적극적으로 자율운항 기술 확보에 나서고 있습니다.
실제로, 삼성중공업은 국내 최초로 원격 조종 선박을 성공적으로 시험 운항했으며, 현대중공업도 자율운항 솔루션인 '하이나스(HiNAS)'를 통해 글로벌 시장을 공략하고 있습니다.

이 기술이 주목받는 이유는 해운 물류 산업에 막대한 경제적 효과와 안전성을 가져다주기 때문인데요. 자율운항 기술은 단순히 조선산업 안에만 머물지 않고, 해운, 물류, 보험 등 다양한 산업 분야와도 깊이 연결되고 있습니다.
경제성: 선박 운용 비용을 22% 이상 절감할 수 있습니다.
효율성: 물류 흐름을 10% 이상 개선할 수 있습니다.
안전성: 인적 과실로 인한 해양 사고를 75% 이상 줄일 수 있습니다.
친환경성: 최적의 경로 운항을 통해 탄소 배출과 환경오염을 최소화합니다.
자율 운항 선박 기술 개요
자율운항 선박은 선박이 사람의 직접적인 조작 없이 스스로 항해하고 상황을 판단하며 운항할 수 있는 시스템을 갖춘 선박을 말하며, 다음과 같은 주요 기술 요소로 구성됩니다.
감지 및 인식(Sensing and Perception)
레이더, LiDAR, 카메라, AIS(Automatic Identification System) 등을 이용해 주변 환경과 선박의 상태를 실시간으로 감지하고 분석합니다.
판단 및 의사결정(Decision Making)
AI 알고리즘을 통해 다양한 운항 상황을 분석하고, 최적의 경로를 선택하거나 위험 회피 조치를 자동으로 결정합니다.
제어 및 운항(Control and Navigation)
결정된 운항 계획에 따라 선박의 추진기, 방향타, 조타장치를 자동으로 제어하여 안전하고 효율적인 항해를 수행합니다.
통신 및 연동(Communication and Connectivity)
선박 간, 선박-육상 간 통신을 통해 실시간으로 정보를 교환하고, 육상 관제센터와 협력하여 보다 안정적인 운항을 지원합니다.
현재 상용화된 기술은 완전한 무인 운항(Level 4)보다는, 선원의 지원을 받으면서 일부 운항 기능을 자동화하는 단계(Level 1~2)에 머무르고 있습니다. 다만, 선박의 크기, 용도, 항로에 따라 점진적으로 자율화 수준이 높아지고 있으며, 향후 완전 자율운항 선박의 상용화도 가시권에 들어온 상황입니다.
예를 들어, 삼성중공업은 AI 기반 자율운항 시스템 'SAS(Samsung Autonomous Ship)'를 개발하여, 원격으로 선박을 조종하고 충돌 회피까지 가능한 기술을 선보였고, 현대중공업의 '하이나스(HiNAS)' 솔루션은 선박 주변 위험요소를 스스로 인식하고 판단하여 항해를 지원하고 있습니다.
한편, 자율운항 기술은 단순히 선박 운항의 자동화를 넘어, 운항 최적화, 연료 효율 향상, 탄소 배출 저감, 해양 사고 예방 등 다양한 효과를 가져올 수 있어, 조선업계 전반의 패러다임 변화를 이끌고 있습니다.
자율운항 기술 관련 특허 출원 동향

국가별 점유율은 한국이 60.8%로, 한국이 가장 큰 시장을 점유하고 있는 것으로 나타났으며, 이어 미국이 24.4%, 유럽이 7.8%, 일본이 7%로 점유하고 있는 것으로 나타났습니다. 이는 전 국가 중에서 한국이 자율 운항 선박에 대한 출원과 기술 개발이 가장 활발하게 일어나고 있음을 시사합니다.

시계열적인 연도별 출원 동향을 보면 2000년 출원 이후 2015년대 초반까지 출원 유지 양상을 보이다 이후 2015년 중반부터 최근까지 급격하게 성장하는 것으로 나타나고 있어 자율 운항 기술의 연구개발에 관심이 증가한 것으로 생각됩니다.
미국은 외국인의 출원 점유율이 30%가 넘고, 출원국도 다수인 것으로 조사되어 미국 시장에 대한 각국의 시장 진입 의지가 비교적 확고한 것으로 보입니다. 한국의 경우 자국 출원 비율이 90%를 상회하고 있어 해외 출원인에 대한 진입 장벽을 구축했다고 판단됩니다.

상위 출원인 분포를 분석한 결과, 한화오션(주)이 가장 많은 출원 건수를 기록하며 해당 기술 분야에서 두드러진 우위를 보이는 것으로 나타났습니다. 그다음으로는 한국해양과학기술원, 에이치디한국조선해양, 삼성중공업(주) 등이 주요 출원인으로 확인되었습니다. 이는 자율운항 기술 분야에서 이들 기관과 기업이 기술 개발 및 특허 출원 동향을 주도하는 핵심 플레이어로서 시장과 기술 흐름에 큰 영향력을 미치고 있음을 시사합니다.
조선 BIG 3, 자율운항 기술 연관 특허
앞서 설명했다시피, 조선업계에서는 자율운항 기술이 빠르게 발전하고 있으며, 이를 반영하는 다양한 발명들도 이어지고 있는데요. 국내 조선 3사는 각기 다른 기술적 접근법으로 자율운항 시장을 공략하고 있습니다.
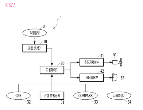
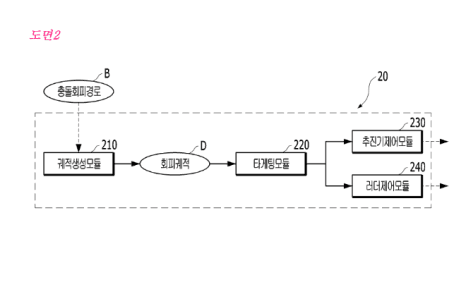
선박의 자동운항장치(KR 10-2260441 B1)


이 발명은 선박이 해상의 동적 및 정적 장애물을 스스로 회피하면서 안전하고 효율적으로 목적지까지 도달할 수 있도록 지원하는 자동운항장치에 관한 것입니다. 장애물 식별 정보를 바탕으로 충돌회피 경로를 생성하고, 해당 경로를 따라 선박을 제어하는 경로 생성기와 자동제어기를 포함합니다. 특히, 선박이 회피 궤적을 추종할 때 급격한 선회나 가속으로 인한 위험 상황을 방지하기 위해, 거리 오차에 따라 선박의 감속 제어를 수행하는 기능이 핵심입니다. 이를 통해 운항 안전성과 에너지 효율성을 동시에 확보할 수 있습니다.
운항체의 자율운항시스템 및 그 제어방법(KR 10-2467138 B1)
이 발명은 바람, 조류, 자세, 속도, 위치 정보 등을 수집하여 실시간으로 기상 지도를 생성하고, 이를 기반으로 최적의 운항 경로를 설정하여 운항체를 자율적으로 항해시키는 시스템 및 방법에 관한 것입니다. 운항체는 수집된 정보에 따라 돛, 센터보드, 키(rudder)를 조정하며, 필요시 엔진도 가동하여 최적 경로를 유지합니다. 특히, 장애물 영역(예: 파도, 통상선, 육상지역 등)을 자동으로 필터링하여 안전한 항로를 확보하는 점이 특징입니다. 이를 통해 자율항해 중 예상치 못한 기상 악화나 장애물에도 안정적으로 대응할 수 있어, 군사·민간용 모두에서 자율운항의 실용성과 안정성을 크게 향상시킬 수 있습니다.
선박용 자동조타 항해 시뮬레이터(KR 10-1155603 B1)


이 발명은 선박의 조종 운동 특성을 반영하여 실제 항해 상황과 유사한 환경을 구현할 수 있는 자동조타 항해 시뮬레이터에 관한 것입니다. 시뮬레이터는 자동 항해, 트랙 유지, 수동조타 모드 등을 제공하며, 초기 항해 데이터 설정, 통신환경 설정, 웨이포인트 설정 기능 등을 갖추고 있습니다. 특히, 선박이 충돌을 회피하며 최적 경로를 유지하도록 실시간으로 제어하며, 이동 장애물에 대응하는 기능도 탑재되어 있어 실선 시험 없이도 높은 수준의 항해 안전성 검증이 가능합니다. 이를 통해 연구개발 및 교육훈련 분야에서 선박 자율운항 기술의 신뢰성을 강화하는 데 기여할 수 있습니다.
자율 운항 기술 상용화를 위한 과제와 특허 전략
이와 같이 자율운항 기술이 빠르게 발전하고 있지만, 상용화를 위해서는 해결해야 할 과제도 여전히 남아 있습니다.
가장 큰 과제는 국제적인 법·제도 정비입니다. 현재 국제해사기구(IMO)를 중심으로 자율운항선박(MASS)에 대한 규범 마련이 진행 중이나, 각국의 해상법 체계, 충돌 책임 규정, 보험 체계 등과의 조율이 필요합니다.
또한, 사이버 보안 강화, 긴급상황 대응 프로토콜 구축, 인공지능 판단에 대한 책임 소재 명확화 등 기술적·윤리적 측면에서도 추가적인 연구와 논의가 필수적입니다.
특히, 기술 발전과 함께 자율운항 관련 특허 확보와 지식재산(IP) 전략이 점점 더 중요해지고 있습니다.
특허법인 위솔은 조선·해양 분야에서 다수의 특허출원 및 IP 전략 지원 경험을 바탕으로, 자율운항 기술에 대한 권리화, 침해 예방, 글로벌 특허 포트폴리오 구축 등을 적극 지원하고 있습니다. 향후 조선업계와 해운업계가 기술 경쟁력을 강화하고 새로운 시장을 선점하는 데 있어, 특허법인 위솔이 든든한 동반자가 되어 드리겠습니다.
원글 출처: https://blog.naver.com/wesolpat/224144310860
위솔특허에 문의하기








