

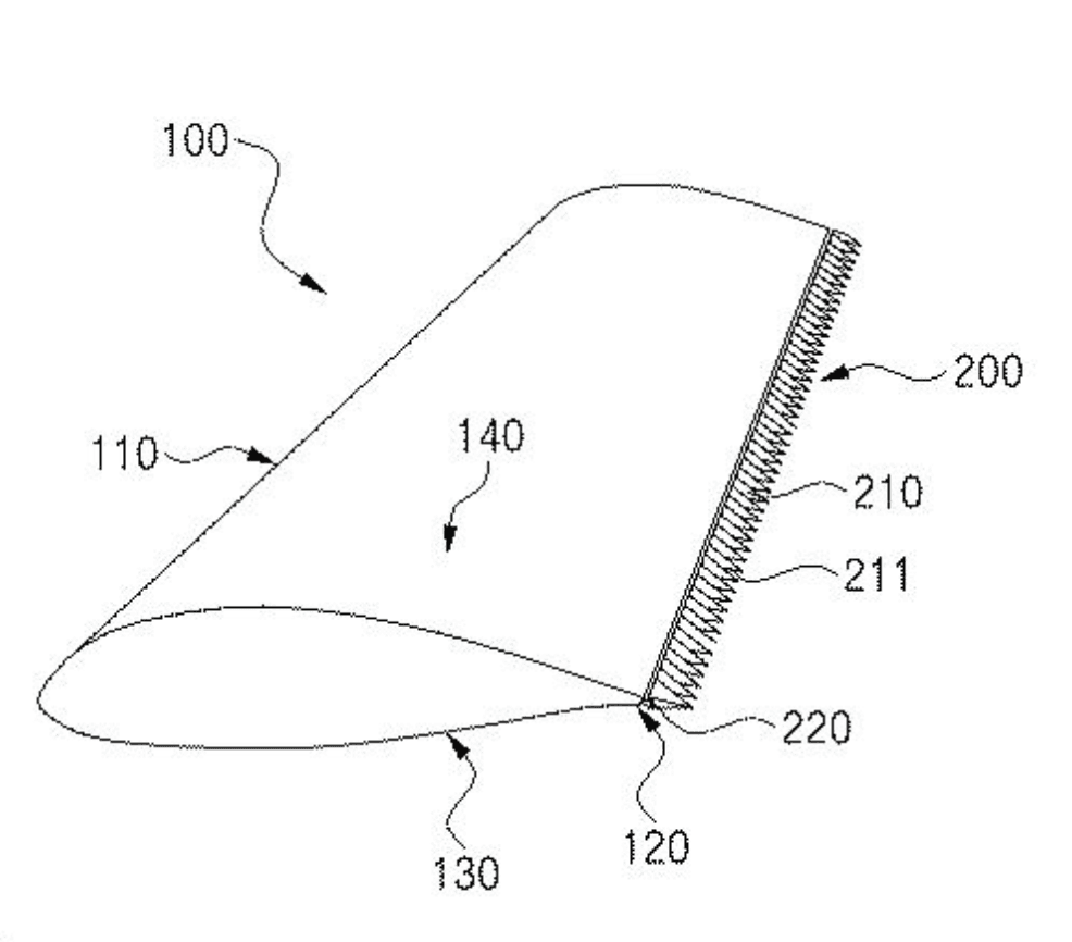
블레이드 소음 저감 시스템
압력면, 흡입면, 앞전, 뒷전으로 구성된 풍력발전기의 복수의 블레이드; 상기 뒷전에 배치되되, 복수의 톱니로 돌출되어 형성되는 뒷전 소음 저감 장치; 및 상기 블레이드의 받음각에 따라 상기 뒷전 소음 저감 장치의 각 톱니의 높이와 각 톱니 사이의 간격을 제어하여 상기 뒷전에서 발생하는 소음을 저감시키는 제어부를 포함하는 것을 특징으로 하는 블레이드 소음 저감 시스템을 제공하는 것을 목적으로 한다.
상세 설명
기술분야
본 발명은 블레이드 소음 저감 시스템에 관한 것으로서, 보다 상세하게는 뒷전 소음 저감 장치를 사용해 뒷전에서 발생하는 소음을 저감할 수 있는 블레이드 소음 저감 시스템에 관한 것이다.
해결하려는 과제
본 발명은 전술한 바와 같이 종래 기술에 따른 블레이드에서 발생하는 뒷전소음의 문제점을 해결하기 위해 안출된 것으로, 본 발명은 받음각에 따라 변화되는 뒷전 소음 저감장치와 제어부를 이용하여, 소음을 저감시키키는 것을 목적으로 한다.
발명의 효과
본 발명은 전술한 바와 같이 종래 기술에 따른 블레이드에서 발생하는 뒷전소음의 문제점을 해결하기 위해 안출된 것으로, 본 발명은 받음각에 따라 변화되는 뒷전 소음 저감장치와 제어부를 이용하여, 소음을 저감시키키는 것을 목적으로 한다.
거래 가격
가격 문의
판매 대리인
특허법인 위솔
연락처
02-2039-7610
SKU
서울대학교산학협력단
첨부파일
특허법인 위솔, WESOL IP LAW FIRM
Copyright © 2024. All rights reserved.






