

객체를 모니터링 하는 방법 및 이를 위한 시스템
본 발명은 질병 분석을 위해 객체를 모니터링 하는 방법 및 이를 위한 시스템에 관한 것으로, 구체적으로는 객체 모니터링용 시스템이 갖추어진 것을 전제로, 이 시스템을 통해 얻어진 결과 데이터들을 분석하고 분석된 결과를 바탕으로 현재 객체의 상태를 추정할 수 있도록 한 객체 모니터링 방법 및 시스템에 관한 것이다.
상세 설명
기술분야
본 발명은 객체를 모니터링 하는 방법 및 이를 위한 시스템에 관한 것으로, 구체적으로는 객체 모니터링용 시스템이 갖추어진 것을 전제로, 이 시스템을 통해 얻어진 결과 데이터들을 분석하고 분석된 결과를 바탕으로 현재 객체의 상태를 추정할 수 있도록 한 객체 모니터링 방법 및 시스템에 관한 것이다.
해결하려는 과제
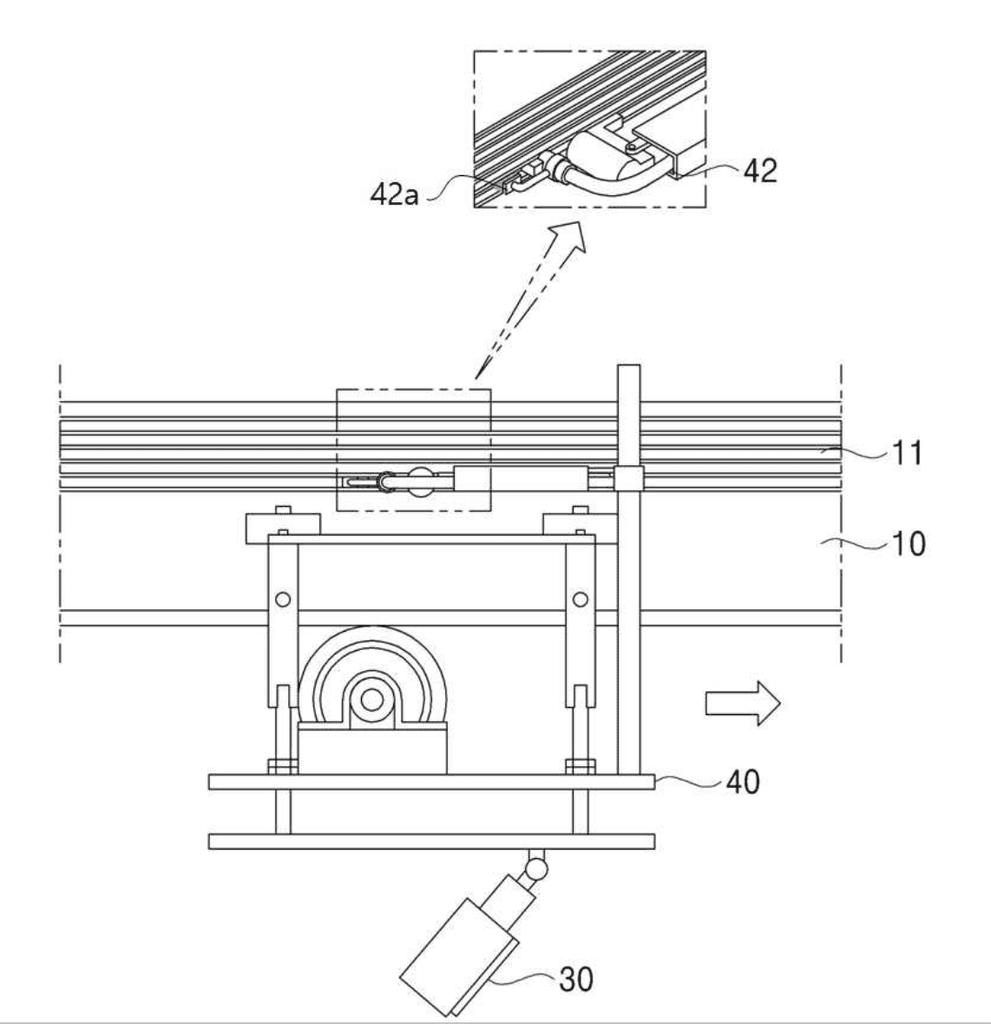
본 발명은 설치가 용이하여 농가를 비롯한 임의의 장소 어디에서든지 활용될 수 있는 레일 형태의 객체 모니터링 시스템을 제공하는 것을 목적으로 한다.
또한 본 발명은 레일을 타고 일정한 주기로 자율 주행하거나, 특정 객체에 대한 정보를 수집하기 위하여 상기 특정 객체를 디텍션(Detection)과 트래킹(Tracking) 할 수 있는 객체 모니터링 시스템을 제공하는 것을 목적으로 한다.
또한 본 발명은 모니터링 수단이 획득한 데이터를 서버 상에 기 저장된 레퍼런스 데이터와 비교 분석하고 분석한 결과 값으로부터 객체의 상태를 추정할 수 있는 분석 서버를 제공하는 것을 목적으로 한다.
또한 본 발명은 실제 일어날 법한 장면을 재현해볼 수 있거나 분석 서버가 AI학습 할 때에 활용되는 리소스를 제공해 줄 수 있는 3D시뮬레이터를 제공하는 것을 목적으로 한다.
한편, 본 발명의 기술적 과제들은 이상에서 언급한 기술적 과제들로 제한되지 않으며, 언급되지 않은 또 다른 기술적 과제들은 아래의 기재로부터 통상의 기술자에게 명확하게 이해될 수 있을 것이다.
발명의 효과
상기와 같은 본 발명에 따르면, 가이드 레일은 복수 개로 분할될 수 있고 이를 손쉽게 연결할 수 있어 임의의 장소 크기에 맞추어 구축이 간이하며, 이에 따라 모니터링 장치의 범용성을 향상시킬 수 있고, 특히 축산 농가 또는 야생동물 보호구역에 널리 보급되었을 시 감염된 객체를 신속히 발견할 수 있게 하는 효과가 있다.
거래 가격
가격 문의
판매 대리인
특허법인 위솔
연락처
02-2039-7610
SKU
서울대학교산학협력단
첨부파일
특허법인 위솔, WESOL IP LAW FIRM
Copyright © 2024. All rights reserved.






